??濾筒式除塵器工藝特點
n濾筒式除塵器工藝特點如下:
n⑴由于濾料折褶成筒狀利用,使濾料布置密度大所以除塵器結構緊湊,體積小;⑵濾筒高度小,安裝方便,利用維修工作量小;⑶同體積除塵器過濾面積相對較大,過濾風速較小,阻力不大;⑷濾料折褶要求兩頭密封嚴格,不能有漏氣,不然會降低效果。
n1濾筒式.除塵器組成和濾筒布置
n(1)除塵器的組成
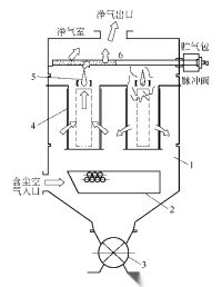
n濾筒式除塵器由進風管、排風管、箱體、灰斗、清灰裝置、濾筒及電控裝置組成,見圖3-1- 。
n(2)濾筒布置
n
圖3-1- 濾筒式除塵器構造示意圖
n1-箱體;2-氣流散布板;3-卸灰閥;4-濾筒;5-導流板;6-噴吹管
n濾筒在除塵器中的布置很重要,濾筒能夠垂直布置在箱體花板上,也能夠傾斜布置在花板上,用螺栓固定,并墊有橡膠墊,花板下部份為過濾室,上部份為凈氣室。濾筒除用螺栓固定外,更方便的辦法是自動鎖緊裝置見圖3-2 和橡膠壓緊裝置見圖3- 3,這兩種方式,對安裝和維修十分方便。
n濾筒式除塵器卸灰斗的傾斜角應按照粉塵的安息角肯定,一般應不小于60°
n濾筒式除塵器的卸灰閥應周密。
n濾筒式除塵器的凈氣室高度應能方便脈沖噴吹裝置的安裝,檢修。
n2.除塵器工作原理
n含塵氣體進入除塵器灰斗后,由于氣流斷面突然擴大,氣流中一部份顆粒粗大的塵粒在重力和慣性作用下沉降下來;粒度細、密度小的塵粒進入過濾室后,通過布朗擴散和篩濾等綜合效應,使粉塵沉積在濾料表面,凈化后的氣體進入凈氣室由排氣管經風機排出。
n

圖3-2 自動鎖緊裝置 圖3--3 橡膠壓緊裝置
n濾筒式除塵器的阻力隨濾料表面粉塵層厚度的增加而增大。阻力達到某一規定值時,進行清灰。見圖3- 4 所示,濾筒尺寸見表3-1。現在脈沖控制儀控制脈沖閥的啟閉,當脈沖閥開啟時,氣包內的緊縮空氣通過脈沖閥經噴吹管上的小孔,噴射出一股高速高壓的引射氣流,從而形成一股相當于引射氣流體積1~2倍的銹導氣流,一同進入濾筒內,使濾筒內出現剎時正壓并產生鼓脹和微動,沉積在濾料上的粉塵脫落,掉入灰斗內。灰斗內搜集的粉塵通過卸灰閥,持續排出。
n這種脈沖噴吹清灰方式,是逐排濾筒順序清灰,脈沖閥開閉一次產生一個脈沖動作,所需的時刻為~;脈沖閥相鄰兩次開閉的距離時刻為1~2min;全數濾筒完成一次清灰循環所需的時刻為10~30min。由于濾筒除塵器為高壓脈沖清灰,所以按照設備阻力情形,應把噴吹時刻適當調長,而把噴吹距離和噴吹周期適當縮短。
n
????
客服熱線:











